

ZJSW氣動薄膜微小流量調節閥
產品概述 ZJSW氣動薄膜微小流量調節閥是專門針對小流量調節而 開發的小口徑 調節閥 。它具有體積...
- 產品詳情
產品概述
ZJSW氣動薄膜微小流量調節閥是專門針對小流量調節而 開發的小口徑調節閥。它具有體積小、重量輕、性能高、用于微小流量的精確控制等特點。調節不干凈介質時,應針對 其節流間隙小的問題,注意預防堵卡現象的發生。它適用于 液體、蒸汽等介質的注流量調節場合。本系列調節閥采用模塊化設計,可采用不同組合、配用 各種附件。
主要零部件參數
| 本體部分 | |
| 閥體形式 | 直通鍛造閥體 |
| 閥體材質 | 20# F22 304 316 |
| 公稱通徑 | DN15~DN20 |
| 公稱壓力 |
PN1.6 4.0 10.0 16.0 20.0 32.0MPa ANSI 150 300 600 900 1500LB |
| 連接形式 |
法蘭:FF RF RTJ 等 螺紋:NPT 焊接:SW BW |
| 結構長度 | 符合 IEC534 |
| 閥蓋形式 | 一體式 |
| 填料 | 聚四氟乙烯 柔性石墨等 |
| 密封墊 | 金屬夾石墨密封墊 四氟乙烯墊等 |
| 閥內部件 | |
| 閥芯型式 | 單座柱塞式 |
| 流量特性 | 等百分比、線性 |
| 內件材質 | 標準材質組合及使用溫度、壓力請 參閱附表 |
| 執行機構 | |
| 氣動 | 氣動薄膜多彈簧執行機構 |
| 單作用 | 氣—開(彈簧復位) |
| 雙作用 | 氣—開/氣—關 |
主要技術參數
| 公稱通徑(mm) | G1/2" | G3/4" | ||||||
| 閥座直徑(mm) | 1.5 | 3 | 4 | 5 | 6 | 7 | 8 | 9 |
| 流量系數 Kv | 0.0025 | 0.08 | 0.12 | 0.2 | 0.32 | 0.5 | 0.8 | 1 |
| 可調范圍 | 30:01:00 | |||||||
| 公稱壓力 | 標準產品 1.6 4.0 6.4、10MPa | |||||||
| 閥芯形式 | 單座柱塞型閥芯 | |||||||
| 流量特性 | 直線 | |||||||
| 作用形式 | 氣開式、氣關式 | |||||||
| 工作溫度 | 普通型-40~230℃,散熱片型 230~450℃,特殊訂貨 450~600℃ | |||||||
| 法蘭標準 | 符合 JB78-59、JB79-59 標準,可按 JB/79.1-94、JB/79.2-94、ANSI、JIS、DIN 等標準訂貨生產 | |||||||
| 執行機構 | ZHA/B 型多彈簧氣動薄膜執行機構 | |||||||
| 可配附件 | 定位器、電磁閥、空氣過濾減壓閥、限位開關、閥位反饋器、緊急作裝置、手輪機構等 | |||||||
主要性能指標
| 泄漏率 | Ⅵ 級, 小于額定流量的 10-4 |
| 回差 | 不帶定位器, 小于全行程的 3%; 帶定位器, 小于全行程的 1% |
| 基本誤差 | 不帶定位器, 小于全行程的±5%; 帶定位器, 小于全行程的±1% |
| 死區 | 不帶定位器 , 小于全行程的 3%; 帶定位器, 小于全行程的 1%注:測試使用填料為聚四氟乙烯填料。 |
允許壓差
| 執行機構 | ZHA(B)-11 | |||||||
| 行程(mm) | 10 | |||||||
| 有效面積(cm3) | 200 | |||||||
| 氣源接口尺寸 | M16×1.5 | |||||||
| 公稱通徑(mm) | G1/2" | G3/4" | ||||||
| 閥座直徑(mm) | 1.5 | 3 | 4 | 5 | 6 | 7 | 8 | 9 |
| 允許壓差△P(MPa) | 6.4 | 5.2 | 4.6 | |||||
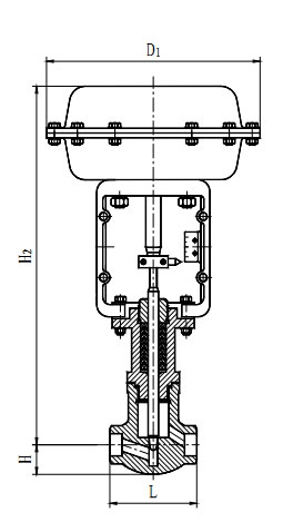
外形結構尺寸
| 公通通徑(mm) | G1/2" | G3/4" |
| 連接長度 L(mm) | 92 | 92 |
| 高度 H(mm) | 30 | 30 |
| H2(mm) | 330 | 330 |
| D1(mm) | 230 | 230 |
產品外形結構尺寸圖


聲明:本文中所有文字、數據、圖片均只適用于參考,ZJSW氣動薄膜微小流量調節閥性能參數、結構尺寸參數、價格等詳情,請聯系我們,電話:021-80392609。
-

不銹鋼電動調節針閥 高精度小口徑小流量 高壓智能防爆
參數 名稱: 調節型電動針型閥 電壓: 24V/220V/380V 公稱通徑: DN8mm-DN20 ; 公稱壓力:...
-

GHJ991W-16P電動針型調節閥 不銹鋼卡套連接信號輸
*** 滬工恒 公稱直徑 6cm 數量 560個 是否支持加工定制 是 是否進口 否 包裝規格 DN6 ...
-

微型電動球閥 不銹鋼內螺紋 絲扣微型閥 小型調節球形
*** 滬工恒 公稱直徑 15cm 數量 450個 是否支持加工定制 是 是否進口 否 包裝規格 DN1...
-

GHY43F衛生級快裝式減壓閥 不銹鋼卡盤卡箍卡套閥
*** 滬工恒 數量 580個 是否支持加工定制 是 是否進口 否 包裝規格 DN40-DN50 產地 蘇...


